太阳成tyc7111cc(中国)集团有限公司-官方网站
设为首页
|
加入收藏
太阳成tyc7111cc
首页
关于我们
太阳成tyc7111cc简介
组织架构
公司领导
团队队伍
教学管理
教学活动
专业设置
学科竞赛
党政工团
党务活动
团学活动
工会活动
教研科研
员工工作
人才招聘
招生简章
就业指导
员工风采
实验室与基地建设
实验室
实验实训中心
通信与物联网工程省级实验教学示范中心
机电一体化省级实验教学中心
电气工程校级综合实践示范中心
智能制造实训中心
实践基地
工作室
专升本
评建专栏
相关栏目
热点文章
首页
»
正文
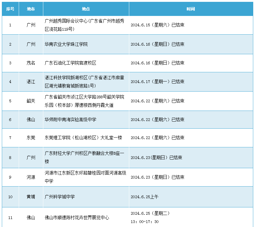
太阳成tyc7111cc2024年普通本科线下招生咨询会安排表
发布时间:2024年06月24日
来源: 太阳成tyc7111cc官网
字体大小:
小
中
大
版权所有 太阳成tyc7111cc(中国)集团有限公司-官方网站
地址:十一号教学楼201 电话:020-39729794